背景技術
顎式破碎機單元通常包括:固定顎和可動顎,該固定顎和可動顎限定在固定顎和可動顎之間的破碎區以及驅動機構,該驅動機構操作用以來回搖動可動顎,以便破碎在破碎區中的材料。
限定在固定顎和可動顎之間的破碎區通常朝著破碎區的下排出端會聚,使得供應到破碎區的較寬上端的可破碎材料接著能夠在重力作用下向下掉落,同時經受響應于可動顎的循環運動的重復循環的破碎運動。破碎后的材料接著在重力作用下,通過較窄下排出端排出到用于進一步處理的或從碎石機單元較終排出到合適料堆的傳送帶上。
通常,支撐固定顎和可動顎的框架稱為前框架端部?蓜宇的前框架端部通過機械致動連接機構而被連接到通常所稱的后框架端部,該機械致動連接機構用于控制并穩定可動顎相對于固定顎的擺動。通常,連接機構可既靜態地又動態地線性調節,以控制所產生的破碎后的材料的等級或大小,以有助于吸收由破碎作用產生的沖擊力并張開或打開破碎區,以防止在不可破碎的材料被意外引入破碎區的情況下對碎石機造成損害。
特別地,在后框架區和前框架區處的顎式破碎機的組裝和構造是強度和重量之間的折衷。在一方面,具有包括所需剛度的各種部件的碎石機必須足夠堅固,以承受所產生并傳遞到顎式破碎機的相當大的加載力。在另一方面,非常重的碎石機的制造、運輸和使用是不期望的。
因此,存在對解決上述問題的顎式破碎機且尤其是顎式破碎機支撐框架的需求。
結構組成

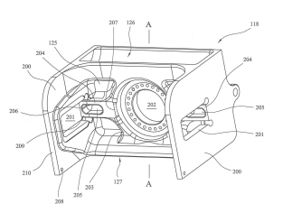
一款新型顎式破碎機支撐框架如上圖,可動顎支撐框架 (118),該支撐框架 (118) 用以安裝連接組件,用于在顎式破碎機內相對于固定顎 (104) 以浮動的關系懸掛可動顎 (105)。所述支撐框架包括沿著主傳力壁(125) 延伸的加強區 (126,、127),以吸收和傳遞從所述可動顎施加到所述支撐框架的加載力。

